攪拌機是混凝土生產中心的核心設備,在攪拌過程中,由于水泥粉塵飛揚和內部潮濕環境,在攪拌機四壁、攪拌軸和攪拌臂上容易出現粘結物堆積結塊的現象,這將嚴重影響混凝土的質量和設備的正常運行。
傳統的解決方案:
混凝土粘結物結塊后,定期用風鎬人工去鑿。
1.念舊惡物已經產生,隨時存在隱患
2.維護成本高
3.風鎬破壞力強,對攪拌機的內襯膛造成損傷
4.操作人員必須鉆進攪拌機內部,容易引發安全事故
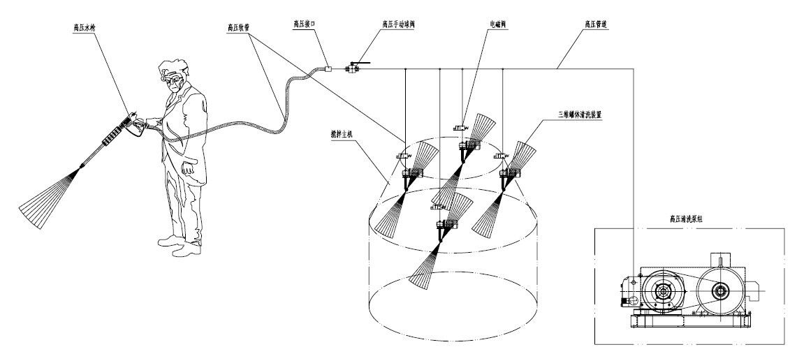
新一代高壓水系統將顛覆傳統思路,我們提供的是“防患于未然”!
高壓清洗設備主機+三維旋轉清洗裝置,維護保養攪拌機內壁的清洗利器!
產品主要參數:
三維罐體清洗裝置

詳情咨詢:手機(微信)18818008791
手機版|














